滇池是昆明的母亲湖,是云贵高原湖面最大的淡水湖泊,湖面略呈弓形,长32km,东西平均宽7km,最宽12.5km。滇池在1887.4m高水位运行下,平均水深5.3m,湖水面积309km2,库容15.6亿m3,多年平均陆地天然入湖水量6.65亿m3。随着滇池流域经济社会的快速发展和城市规模的急剧扩大,入湖污染负荷不断增大,滇池的治理难度也不断加大。这些年,国家和地方投入了大量的人力物力来治理滇池。
根据《滇池流域水污染防治“十二五”规划编制大纲》滇池治理“九五”期间完成投资25.3亿元;“十五”期间投资31.7亿元(含完成“九五”续建项目投资9.38亿元)。“十一五”期间计划投资183.3亿元,到2009年底,已完成投资123.8亿元。根据《滇池流域水环境保护治理“十三五”规划(2016-2020年)(听证稿)》“十二五”期间滇池治理规划总投资420.14亿元。截至2015年底,完成投资289.79亿元。“十三五”期间规划项目总计100个,总投资192.68亿元。然而上述费用还未考虑历年滇池治理工程的运行费用,也未考虑各小区、各企业自建的化粪池、中水处理站、废水处理站等工程的投资。
滇池多年平均陆地天然入湖水量6.65亿m3,以“十二五”期间完成投资289.79亿元计算,天然入湖水量的单位治理投资达到8.71元/m3,这个投资达到昆明同期居民用水中自来水价格(2.45元/m3)的3倍多,如果再考虑滇池治理工程的运行费用及未计入的投资,则单位水量的治理费用更高。当然滇池的径流量小,水体跟新速度慢,本身就是滇池治理难度大的一个主要因素,其投资规模大正好也反映了滇池治理的难度大。
尽管滇池治理的难度大,但是滇池治理所采用的主要治理技术还是当前国内外普遍采用的常规水污染治理技术。根据《滇池流域水环境保护治理“十三五”规划(2016-2020年)(听证稿)》“十三五”期间将重点开展深化产业结构调整,完善治污体系,构建健康水循环,修复生态环境,创新管理机制,加强科技支撑与发动全民参与等七方面工作。虽然规划中提到加强科技支撑,但新科技的采用量有限,从工程技术角度看,当前主要还是依靠“完善治污体系,构建健康水循环,修复生态环境”等常规水污染治理技术进行滇池治理。
根据昆明市生态环境局发布的《2018年度昆明市生态环境状况公报》,滇池全湖整体水质为Ⅳ类,综合营养状态指数为57.7,营养状态为轻度富营养,与2017年相比水质有所好转,全湖水质类别由Ⅴ类上升为Ⅳ类,营养状态由中度富营养好转为轻度富营养,综合营养状态指数下降11.4%。滇池草海和滇池外海水质曾经长期处于劣Ⅴ类水平,在滇池流域经济社会持续发展的情况下,滇池流域污染物总量也在持续增加。滇池治理这这些不利因素下,不但阻止了滇池水质的进一步恶化,而且还实现的水质的显著提升,这是极难做到的,这样的治理成效也取得了社会各界的广泛认可。
从“十五”到“十三五”滇池治理规划均是各个时期水污染治理领域顶尖的专家和学者经过科学的论证,总结国内外水体多年的治理经验,提出的规划。在现有技术的基础上,很难找到更好的治理方案,滇池治理的效果本身也印证了这些滇池治理规划的科学性。但是滇池治理主要依靠的常规水污染治理技术依然存在很多不足和局限性,如果不克服这些不足和局限性,滇池治理的良好态势将难以继续保持,滇池治理的投资依然会居高不下。为突破常规水污染治理技术的不足和局限性,本文在总结多项水污染治理专利技术的基础上提出了污水处理新思路、河道治理新思路和湖泊治理新思路用于滇池的治理。如果这些技术开发成功并运用于滇池治理,有望进一步提升滇池治理的效果,并大幅度降低滇池治理的投资和运行费用。
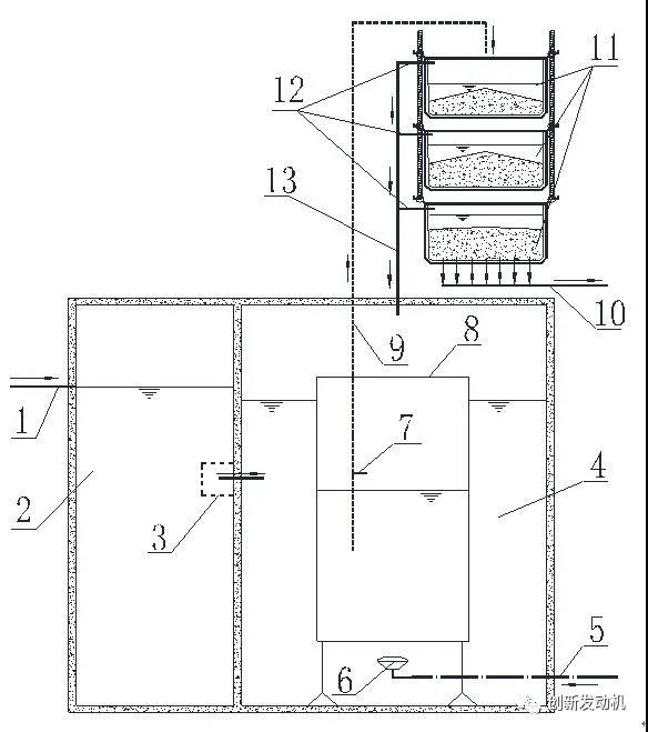
如果不考虑生态用水量的增减,滇池的污染是一个污染物的输入与输出的动态平衡问题。当输入滇池的污染物总量大于输出滇池的污染物的总量时,污染物就会在水体内累积,水质就会恶化,反之则水质改善。如果不考虑污染物量的增减,生态用水的量越多水质越好,反之越差。因此从总体上看,滇池治理的过程就是减少污染物的输入量、增加污染物的输出量、增加生态用水量的过程。滇池污染物主要流向如图1所示:

图1 滇池污染物主要流向示意图
几乎所有的自然界水体均含有一定程度的污染物,受人类活动的干扰和使用后,水中的污染物浓度更是大量增加。地表水沿入滇河道进入滇池会携带大量的污染物,地下水补给滇池也会携带大量的污染物,因此,减少河道和地下水携带的污染物是治理滇池的一个关键。当然进水的过程也是增加生态用水的过程。
受经济技术条件的制约,集中到污水处理厂处理后的尾水依然含有大量的污染物,污水处理厂尾水中的污染物输入滇池后依然要依赖水体自净能力进一步降解。
生物同化作用,特别是植物的光合作用将无机物合成有机物,转化为自身的生物体,并通过食物链在水体中传递,成为新的污染源,严重的时候就出现水华、赤潮等问题,当然水生生物也是污染物输出水体的重要因素。
另外排污暗管、向水体排放固体废物、底泥污染物释放、降水等也会带入一定的污染物。
和进入滇池的水体一样,排出滇池的水体也含有一定程度的污染物,滇池的排水也同时将污染物输出。这种排水主要包括螳螂川排水,西园隧洞排水和人工取水等。当然排水的过程也是减少生态用水的过程。
水生生物是滇池实现水体自净的主要因素,污染物通过食物链进入生物体,通过生物的异化作用特别是生物的呼吸作用将有机物转化为无机物以气态形式输出水体,或者沉淀形成底泥。当然食物链进入陆生生态系统也可以减少污染物的量,例如鸟类捕食,人工捕鱼,人工打捞蓝藻、水葫芦等,但是这种方式不应破坏生态系统的平衡。
人工打捞主要是去除浮渣,打捞生物体,清除底泥等;污染物密度大于水密度就会在水中沉淀形成底泥;挥发主要是指污染物以气态的形式离开水体。
单从污染物流向的角度看,生态用水在增加输入湖泊的污染物的同时也增加了输出湖泊的污染物,甚至输出的湖泊的污染物会少于输入湖泊的污染物。但是生态用水的环境意义在于生态用水的稀释作用,在稀释作用下湖泊污染物的浓度降低,水质直接提升。从牛栏江—滇池补水工程实施后滇池治理效果的显著提升也可以看出生态补水的作用。
当前滇池治理的工程技术主要包括“完善治污体系,构建健康水循环,修复生态环境”等常规水污染治理技术。下面就其中一些常规水污染治理技术存在的不足和局限性进行分析如下。
治污体系主要包括污水管网、雨水管网、污水处理厂和雨水处理厂(滇池流域污水处理厂和雨水处理厂统称水质净化厂)。其中污水管网和雨水管网用于收集污水和雨水,污水处理厂和雨水处理厂用于处理污水和雨水。
根据《滇池流域水污染防治“十二五”规划编制大纲》提出的截污目标:在“十二五”末期,城市生活污水收集率需达80%以上。也就是说还有20%的生活污水未经集中处理直接进入地表水或者地下水体,污水中携带的大量未处理的污染物间接输入滇池。《滇池流域水环境保护治理“十三五”规划(2016-2020 年)(听证稿)》未明确污水收集率,但也不可避免未收集的处理的生活污水中的污染物随同地表水或地下水输入滇池。
目前昆明市的污水处理厂尾水排入滇池及入滇河道一般执行《城镇污水处理厂污染物排放标准》GB18918-2002最严的一级A标,对比一级A标和GB3838-2002《地表水环境质量标准》功能要求最低的Ⅴ类水标准,可发现污水处理厂尾水甚至不能满足功能最低的地表水水质要求,尾水依然携带大量的污染物。这部分污染物也是输入滇池的主要污染源之一。
当前也出现了一些提高污水排放标准的呼声,同时也有许多环保公司开发了大量的生活污水处理工艺、设备和设施,这些工艺的出水可达到准Ⅳ类水标准,甚至达到更高的标准要求,但其投资和运行费用较高,难以大规模实施和广泛运用。
污水处理厂是滇池流域污染物消减最主要的措施。目前的污水处理厂主要适用于集中处理高浓度污水,对于低浓度废水或受轻度污染的水体处理效果较差,而且其尾水也携带大量的污染物。
如何在确保污水处理效果不低于现有污水处理厂的处理效果的情况下,避免污水收集效率的不利影响,是突破现有治污模式的一个重要方向。
构建健康水循环的主要内容包括外流域引水工程和污水处理厂尾水外排工程,已经完成和投入运营的牛栏江—滇池补水工程以及目前正在实施的滇中引水工程属于外流域引水工程,西苑隧洞排水工程及部分环湖截污工程属于污水处理厂尾水外排工程。
本文以牛栏江—滇池补水工程为例分析外流域引水工程的局限性。
牛栏江—滇池补水工程总投资为83.3亿元,主要由德泽水库水源枢纽工程、干河提水泵站工程及输水线路工程组成。在德泽大桥上游4.2km的牛栏江干流上修建坝高142m、总库容4.48亿m3的德泽水库;在距大坝17.6km的库区建设装机9.2万千瓦、扬程233m的干河提水泵站;建设总长为115.6km的输水线路,由泵站提水送到输水线路渠首,输水线路落点在盘龙江松华坝水库下游2.2km处,利用盘龙江等河道输水到滇池。设计引水流量为23m3/秒,多年平均向滇池补水5.72亿m3。
牛栏江—滇池补水工程要求德泽水库水质达到Ⅲ类水标准,大量的Ⅲ类水作为生态用水进入滇池将对滇池水体产生稀释作用,使滇池水质好转。同时大量的生态用水进入滇池也使得滇池的水体更换速率极大提升,加速了污染物输出滇池的速率。牛栏江—滇池补水工程是滇池治理最重要的措施之一。
昆明市是一座水资源严重短缺的城市,滇池流域年人均水资源占有量只有270多m3,不足全国人均水平的八分之一。外流域调水是解决昆明水资源短缺的一个重要途径。但是外流域调水必然减少调出流域的水资源量,对调出流域的发展难免产生影响,那么外流域来水应该倍加珍惜,用在更为重要的地方。然而牛栏江—滇池补水工程不是将外流域来水用于生产生活用水,而是将这部分水用于河湖生态用水直接排放到滇池。一方面我们在大力的宣传节约用水,并花大量的成本来处理污水处理厂尾水用于工农业用水;一方面我们把水质较好的外流域来水直接排放,从某种意义上来说是对水资源的浪费。
当然这种浪费也是在没有更好的治理措施选择的情况下做出的决策。更好的治理措施应该是在流域内解决污染问题。由于湖泊本身具有自净能力,湖泊排水水质优于湖泊进水水质的综合,将滇池排水作为生态用水输送至上游稀释滇池,也能取得良好的效果,如果在取水、输送和补水的过程中,能够采取一些净化措施,则生态补水的效果会更好。
污水处理厂尾水外排工程将污水处理厂尾水引至滇池外,可以显著的减少输入滇池的污染物,有利于滇池的治理。
但是污水处理厂尾水外排工程的前提是流域有足够的生态用水,反之在流域水资源量不足的情况下,如果将污水处理厂尾水外排会进一步减缓水体的更新速度。做一个极端的假设,如果滇池流域这些污水处理厂的尾水出现在沙漠上,就会是非常宝贵的水资源,是不可能把它当作负面资源排走的。当然点滇池治理规划中,也规划了尾水的利用措施,将尾水用作作为城市杂用水、农灌用水和工业用水使用。
污水处理厂尾水外排工程的局限性可从两个方面突破:一方面是在技术经济可行的条件下进一步提升尾水水质,减少尾水中的污染物量;另一方面是人工强化河道湖泊的水体净化能力,去除尾水中的污染物。
入湖河道整治工程:开展35条主要入湖河道及84条支流沟渠的截污、清淤、生态修复等综合整治。其中入湖河道整治工程中的沟渠截污与环湖截污类似,均是属于污水的收集工作。河道清淤是消除河道内源污染的一个重要途径,其缺陷在于该措施属于短期突击性措施,难以连续稳定的运行。
对于河道的生态修复,我们常见的是河道沿线众多的河长林以及部分河道内栽种的植物。其中河长林生长于河岸两边,不可否认河长林是很好的景观,但是难以找出它对河道水体有什么净化效果,而河长林每年均会有大量的落叶进入河道,落叶的主要成分中的碳、氮、磷等,均是污染河水的污染物。另外河道内栽种的植物,如果收割不及时,腐烂在河道内也是污染河道的污染物。
治湖先治河,河道的治理是一个很有突破空间的区域。如果将去除污染物的设施设置在河道内,不但可以节约用地,而且这些设施的运行可以借助河水流动提供的能量,其投资和运行成本较低。针对河道中的固态污染物、耗氧污染物等,可以在河道上安装过滤设施、沉淀设施、曝气设施等。但是在河道上安装这些设施必须处理好防洪和鱼类保护的问题。
生态清淤工程主要包括底泥疏浚、水葫芦治理滇池污染、滇池重点水域蓝藻清除等内源污染治理工程。其中底泥疏浚与河道清淤类似,是消除湖泊内源污染的一个重要途径,其缺陷在于该措施属于短期突击性措施,难以连续稳定的运行。
水葫芦疯长和蓝藻爆发是水体富营养化条件下,水污染治理比较头疼的一个问题。事实上水葫芦和蓝藻是水体自净能力的一个重要因素,他们的生长均吸收了水体中的氮、磷等污染物,使液态的污染物转化到固态,关键的问题是将水葫芦和蓝藻从水体中分离出来。
由于水葫芦的是体积较大、漂浮在水面、容易打捞,目前用水葫芦来治理水体富营养化已经被行业内广泛接受,还开展水葫芦治理滇池污染试验性工程,水葫芦则主要通过人工打捞从水体中分离出来,劳动强度大。
蓝藻体积较小、悬浮在水体内难以从水体中分离出来,目前很少用蓝藻来治理湖泊富营养的技术。蓝藻的体积小、悬浮状态同时也决定了其与水体的混合状态和流动性较好,方便蓝藻的导流与收集,收集或采用过滤等工程措施将蓝藻分离出来。采用蓝藻治理湖泊水体富营养化也是技术突破的一个重要方面。
湖泊治理不应该仅限于湖泊内部,在污染物入湖前就应该采取污染物消减措施,另外在河道入户口、湖泊周边以及湖泊出水后均可以采取措施突破现有治理的限制。
生活污水是滇池最重要的污染源之一,从滇池污染物主要流向示意图看,生活污水中的污染物输入滇池的渠道有:随污水处理厂尾水输入、随入湖河道输入、随地下水输入以及排污暗管输入等形式,是滇池水污染治理的重中之重。生活污水处理之于滇池治理的意义在于减少输入滇池的污染物量。
生活污水通常由产生生活污水的单位自建化粪池等预处理装置处理后进入污水管网,经污水管网汇集到污水处理厂处理达标后排排放。这就是当前广泛运用的“化粪池+污水收集管网+污水处理厂”生活污水处理模式。经分析,这种生活污水处理模式存在如下缺点。
①投资和运行费用高:含化粪池、污水收集管网和污水处理厂的投资和运行费用。
②污水处理效果受污水收集效率和污染物去除率限制:污水收集管网未收集的污水携带大量的污染物输入水体,污水处理厂外排尾水也含有大量的未去除的污染物输入水体。
③污水可能通过管网渗漏污染沿线地下水。
④雨水、地下水混入污水收集管网影响污水处理:混入的雨水和地下水增加集中污水处理厂的处理负荷。
⑤需建立雨水和污水两套管网,有污水、废水分质收集处理要求的项目所需的管网更多。
A标化粪池就是将污水预处理和深度处理集中为一体,将生活污水处理达到一级A标的分散性污水处理设施。从技术上看,A标化粪池出水应达到行《城镇污水处理厂污染物排放标准》GB18918-2002的一级A标;从经济上看,A标化粪池在现有化粪池基础上增加的费用应不高于污水收集管网和集中污水处理厂费用的分摊。A标化粪池开发的关键在于达到一级A标、控制投资和控制运行费用,具体可分解为如下指标:
①出水达到一级A标。
②污泥含水率低于80%,《城镇污水处理厂污染物排放标准》(GB18918-2002)所要求的含水率指标是80%。
③A标化粪池的水力停留时间不高于24h,通过控制水力停留时间来控制A标化粪池的工程量,并控制增加的投资。
④无人值守,仅需定期清理污泥,控制运行费用。
⑤污水处理的电耗不高于1度/m3污水,控制运行费用。
当前环保市场上,上述任何一项单个指标都有相应的产品能够满足,但是要完全满足上述所有的指标,还需要大量的集成和技术突破。
由于常规的“化粪池+污水收集管网+污水处理厂”的污水处理模式已经在国内外推行了上百年,在思维惯性的限制下,极少有人对这一处理模式提出质疑,但是在实际使用过程中且存在许多分散处理生活污水的需求。当前我国的生活污水已经逐步普及至乡镇级行政村一级,在普及过程中出现大量的村落散户难以收集集中处理,市场上出现了分户型污水处理装置,其中一些优秀的分户型污水处理装置大部分指标已经满足或接近本文所提的A标化粪池分解的指标要求。
当然这些分户型污水处理装置当前也在持续的改进中,如果社会在投入更多的研发资源用于A标化粪池的开发,A标化粪池已经呼之欲出。本文设想的A标化粪池技术只能算是若干技术中的一种,即使以这种设想为基础开发出的最终产品也会有若干的升级和改造。
沉淀和过滤是污水处理工程最常用的固液分离措施,其中沉淀池几乎没有生化效果,但停留时间很长;现有的过滤需要反冲洗作业、排泥含水率低、适用于悬浮浓度较低的混合液分离;专利技术泥饼过滤器以泥饼为过滤介质,避免了反冲洗作业、进水浓度适用范围更广、排泥含水率更低、同时还具有生物降解功能。
曝气是污水处理工程能耗最高的部分,鼓风曝气所利用的氧气在空气中的占比仅21%,空气中的氮气及其他气体对提升水体的溶解氧没有促进作用,而穿孔曝气管、微孔曝气器等曝气设备的氧转移效率在8%~40%不等,大量的未吸收的气体被释放到空气中,这部分气体在鼓风进入水体的过程也需要消耗大量的能量。专利技术曝气罩气提装置充分利用曝气充氧后未溶解在水中的气体作为气提装置的气源对曝气池污水进行提升。
在对这两项专利技术进行融合的基础上进一步提出了本文所要重点分析的A标化粪池。
进水管1,粪渣池2,管道式格栅3,生化池4,曝气管5,曝气器6,进气管7,曝气罩8,升液管9,出水管10,泥饼过滤器11,溢流管12,回流管13
图2 A标化粪池结构示意图
如图2所示,A标化粪池主要包括粪渣池2生化池4、鼓风管5、曝气器6、曝气罩8、升液管9和泥饼过滤器11;压缩空气经曝气管5和曝气器6从曝气罩8下部开口进入曝气罩8内部,气泡上升并在曝气罩8顶部集聚,气压增大使曝气罩8内部液面下移,液面下移至进气管7以下后,气体进入升液管9内,升液管9内的气液混合体密度降低,在密度差作用下被提升至气液分离器11,一部分污水经泥饼过滤器11过滤后从出水管10流出,另一部分污水几经溢流管12和回流管13回流至生化池。
如果开发出达标化粪池,可以替代现有的市政污水管网、城市污水处理厂。从群众角度看:现在居民水费中每方水有1元的污水处理费可以减省,同时处理达标的水可就近回用于绿化用水等,还有经济价值,居民升级改造化粪池有积极性;从政府角度出发:不需要修建市政污水管网和城市污水处理厂,节约财政投资,升级改造化粪池也可取得政府支持。具体如下:
1、整个A标化粪池将生活污水的预处理、生化处理和固液分离集成为一体,减省了后续的污水收集管网和集中污水处理厂。
2、整个A标化粪池仅含有曝气装置一个动力设备,其能量利用率高,非常节能。
3、泥饼过滤器的滤饼内含有大量的微生物,污水中的污染物在穿过滤饼层时被降解。
4、曝气罩气提装置充分利用曝气过程中为利用的气体作为气提装置的气源。
5、泥饼过滤器没有反冲洗作业,减少了后续污泥处理的工程量。
6、在泥饼过滤器内设溢流管,可避免污水的外溢污染环境,污水通过回流管回流至生化池,将大量微生物集中在生化池内,提高污染物降解的速率。
A标化粪池的主要设施包括池体、曝气罩气提装置和泥饼过滤器,其中池体建议施工为土建结构,曝气罩气提装置建议作为设备安装在池体内,泥饼过滤器建议作为设备放置在池体外。对于已经采用了现有化粪池的小区,应充分研究利用现有化粪池作为A标化粪池的池体,在池体内安装曝气罩气提装置,池体外安装泥饼过滤器及配电控制设施的可行性。
A标化粪池运行采用自动化控制,管理人员仅需定期清理污泥,维护设备,其日常的看护可由小区物管兼职,A标化粪池的远程控制、监管、污泥清理、设备维护可成立专门的公司负责实施。
在污水处理方面,滇池治理采用的依然是当前广泛运用的“化粪池+污水收集管网+污水处理厂”生活污水处理模式。有模式依然会长期存在,A标化粪池应该首先在新城区、新建小区推广运用。在A标化粪池的推广过程中,建议对已经按要求实施和使用A标化粪池的小区居民免交自来水费中代扣的1元/m3的污水处理费。A标化粪池的出水不用进市政污水管网,可排入市政雨水管网、就近地表水水体或小区内的景观水体。
在实施A标化粪池后,每个小区都可修建充景观水体,一方面可以利用景观水体在美化环境的同时对排水进行深度净化,另一方面可从景观水体取水用于小区绿化、道路清扫、冲厕等杂用水。当然景观水体的水质净化可采用本文所述的湖泊治理新思路推荐的技术进行进一步治理。
当污水处理厂服务范围内的生活污水处理全部采用A标化粪池处理达标后,该污水处理厂和配套的市政污水管网可停止运行,或改作雨水管网、雨水处理厂等其他运用。若新的城区的生活污水全部采用A标化粪池,则新城区不需要配套市政污水管网和集中污水处理厂。
生活污水的处理始终是环保领域通用性最强,市场空间最大的一个分领域,但是由于技术的普及,几乎每个环保公司都可以做生活污水处理工程,这也导致了生活污水处理的竞争激烈,利润空间小。A标化粪池的理念在生活污水治理领域具有革命性的突破,即使最终开发出的产品不采用曝气罩气提装置和泥饼过滤器等专利技术,也将采用其他技术来开发。若污水处理技术能在污水处理领域取得显著的突破,技术经济指标明显优越于现有技术,将在污水处理领域形成新的产业链。
河道是污染物输入滇池的主要渠道之一,消减河道水体的污染物含量也是滇池治理的主要方式之一,河道治理之于滇池治理的意义在于减少沿河道输入滇池的污染物量,同时也为滇池提供生态用水。为确保河道的行洪安全,避免洪水对河道治理设施的冲击,可采用专利技术“河道治理旁通道”。为充分利用河水的流动为水体曝气增氧,可采用专利技术“曝气水车”。在确保鱼类通行的基础上去除河水中的固态污染物,可采用专利技术“过鱼式沉淀过滤池”。
河道治理必须满足河道行洪等水利方面的要求,同时也要防止洪水对河道治理设施的冲击。河道治理旁通道可以将正常水位以下的河水引入旁通道进行治理,将超过正常水位的洪水导入原河道正常行洪,确保了河道的行洪安全和河道治理设施的安全。
图3 河道治理旁通道示意图
如图3所示,在河道上设置出流口2、回流口7、导流墙4、挡洪墙3等(导流墙4的墙顶略高于正常水位低于洪水位,挡洪墙3的的墙底略高于正常水位低于洪水位);导流墙4将正常情况下的河水进入旁通道6处理;挡洪墙3防止洪水进入旁通道6冲击治理设施,使洪水翻过导流墙4进入下游原河道5。既不降低行洪能力,也避免洪水对河道治理设施的冲击。
滇池有35条主要入湖河道及84条支流沟渠,大部分入主要河道及支流沟渠均具有行洪的功能,河道治理旁通可确保治理设施的设置不降低河道的行洪能力,同时也能避免洪水对治理设施的冲击,因此可在旁通道内设置过鱼式沉淀过滤池和曝气水车等河道治理设施,去除河水中的污染物。设置河道治理旁通道可减少随河道输入滇池的污染物量。
缺氧是河道污染的一个重要特点,曝气增氧是一种重要的河道治理措施。曝气水车依靠水流推动将水车叶片末端的容器带入水面冒出气泡下释放氧气,增加河水溶解氧(容器进入水面下如同空瓶子放到水面下会冒出气泡)。
图4 曝气水车示意图
如图4所示,在水车叶片2的末端设置容器3,通过水体流动推动曝气水车的转动,将容器3带入水面下释放空气,再带出水面盛装空气,从而完成水车的曝气过程。
入滇河道及其支流大部分流经城区及人员密集区域,河水缺氧是部分污染河道的主要特点,甚至有部分河道还出现过黑臭水体问题,同时增加河水溶解氧含量也有利于入滇河道水质的改善。在入滇河道上设置一定数量的曝气水车可防治河道黑臭问题,同时可消减随河水输入滇池的污染物量。
河水污染物中有很多是以固态的形式存在,而固态污染物是感官影响最明显,也是河道黑臭问题的主要原因之一。过鱼式沉淀过滤池在河道上设置过滤设施,在确保鱼类通行的情况下去除河道上的固态污染物。
图5 过鱼式沉淀过滤池示意图
如图5所示,在河道上建设隔墙一2和隔墙二4两组隔墙,建设过滤墙一3和过滤墙二5两组过滤墙,形成沉淀池区并留出过鱼线路6,河水经沉淀和过滤净化后流向下游河道,固态污染物被拦截在沉淀区去除,鱼类等水生动物通过过鱼线路6进入下游河道或洄游到上游。
大部分入滇河道及其支流均具有鱼类等水生生物通行的功能,河道治理设施也不得影响鱼类的通行,过鱼是沉淀过滤池的设置可在去除固态污染物的同时确保鱼类的通行,另外本专利技术的另一个变形还可以将鱼类引入专门的鱼类通道,避开设置有可能影响鱼类通行的河道治理设施的区域。入滇河道上上固态污染物的去除,也同时减少了随河水输入滇池的污染物量。
前文所述的污水处理和河道治理均有助于湖泊治理,从广义上将也属于湖泊治理的范畴,本节主要讨论针对湖泊本身的治理,包含河道入湖口和湖泊排水口在内的水域,湖泊治理的意义是减少输入湖泊的污染物,增加输出湖泊的污染物,并增加湖泊的生态用水。从湖泊治理的空间来看,滇池治理应该包括湖前治理、湖内治理、湖侧治理和湖后治理。
由于河道入湖口连接湖泊,本节将其列出湖泊治理措施,并归为湖前治理,采用蓝藻爆发池利用快速生长繁殖的蓝藻将水中的氮、磷等营养元素在入湖前吸收进入蓝藻生物体内并分离出来。
图6 蓝藻爆发池结构示意图
如图6所示,蓝藻爆发池主要包括蓝藻爆发池2、藻水提升泵4、藻水分离设施6和藻泥脱水机9。来水进入蓝藻爆发池2,由蓝藻富集水体中的氮、磷等营养元素,通过藻水提升泵4将蓝藻爆发池2内藻水提升至藻水分离设施6,分离出的清水流向下游水体,藻泥一部分回流至蓝藻爆发池2,一部分经藻泥脱水机脱水后泥饼外运。
蓝藻爆发池主要用于去除水体中的氮、磷等污染物,可将滇池周边的湿地公园中的水景改造为蓝藻爆发池,用于去除滇河流和污水处理厂尾水中的氮、磷等污染物。蓝藻爆发池可进一步减少输入滇池的污染物量。
水体富营养化会导致蓝藻爆发,但是蓝藻爆发也会将氮、磷等污染物富集在蓝藻生物体内,为提高蓝藻打捞的速率,本文推荐采用高效蓝藻打捞船来打捞湖泊内的蓝藻等水生生物,并连同富集在生物体内的氮、磷等污染物去除。
图7 高效蓝藻打捞船结构示意图
如图7所示,本文所提的高效蓝藻打捞船的主要结构包括船体、滗水器、水泵、过滤管道、加药池、藻泥脱水机和排水管排水管。由滗水器收集船头方向的表层藻水至藻水仓,通过水泵加压进入过滤管道脱水后输送至加药池及藻泥脱水机,产生的藻饼装入藻饼仓,过滤管道以及藻泥脱水机脱出的尾水通过排水管从船尾方向排出。定期通过提升滗水器、切换阀门、利用藻泥脱水机尾水反冲洗过滤管道。蓝藻打捞结束后,依靠水泵和反洗管将藻水仓、管道仓和加药池内的水排至船体外,将藻饼运至岸上处理。
当前市场上使用的蓝藻打捞船,通常藻水收集和藻水处理在两条船上,甚至收集的藻浆没有进一步浓缩,而是运回岸边再处理,另外蓝藻打捞的过程也没有与船体的动力装置结合。专利技术高效蓝藻打捞船客服这些问题后,其打捞效率将会有大幅提高。滇池的治理采用蓝藻打捞船等高效打捞技术后,不但可以减少蓝藻的感官效果,还可以去除蓝藻生物体内所包含的氮、磷等污染物。蓝藻打捞可加速氮、磷等污染物输出滇池的速度。
在滇池岸边蓝藻容易集聚的区域设置固定的蓝藻打捞站来加速蓝藻的打捞。同样可加速氮、磷等污染物输出滇池的速度。
在滇池水体自净作用下,排水口水质优于各进水口水质的综合,在滇池排水口附近修建地下水取水设施大量开采地下水,采用提升泵站将地下水输送至上游作为生态用水参与湖泊水体循环。地下水水位下降后湖泊水大量补给地下水,由于蓝藻、水葫芦等生物体携带的氮、磷等污染物难以穿过土壤进入地下水,被截流在出湖河道内排出湖泊,加大了输出湖泊的污染物量。
图8 排水口地下水回流治理湖泊示意图
如图8所示,排水口地下水回流治理湖泊主要包括地下水取水池、提升泵站、输水管线和回流口。在湖泊排水口附近沿湖岸或排水河道修建地下水取水池,大量开采地下水,采用提升泵站通过输水管线将地下水输送至上游经回流口进入湖泊参与湖泊水体循环。地下水水位下降后湖泊水大量补给地下水,由于蓝藻、水葫芦等难以穿过土壤进入地下水,被截流在出湖河道内排出湖泊,加大了输出湖泊的污染物量。
若排水口地下水回流的专利技术用于滇池,则输水管线的距离约40km,提升高度约70m,生态用水的提升高度和输送距离均为牛栏江滇池补水工程的1/3,如果输送相同水量的生态用水,则投资和运行费用也均小于牛栏江滇池补水工程。虽然初期的水质可能差于牛栏江滇池补水工程,但排水口的下水回流的生态用水几乎可以无限开采,对于滇池的水质改善效果也是可持续的改善,关键是不涉及水资源的争夺。
如果说化粪池、污水管网和污水处理厂是末端治理措施,那么河道治理和湖泊的治理都是末端后治理措施。水污染的控制措施应该包含在清洁生产、末端治理和末端后治理的所有过程中,单独控制其中的某个过程都是不完整的,只有所有过程都控制好,才能做好水环境保护工作。水污染治理应该是在清洁生产、末端治理和末端后治理的全过程中找到最优的污染物去除方案。
当前针对河流和湖泊的主要末端后治理措施如湿地、底泥疏浚、圈养水葫芦等措施,由于处理效率低、占地面积大、投资和运行费用高、难以连续稳定运行等,导致当前治理措施投资和运行费用高,治理效果不好。那么开发连安全、稳定、经济、高效的末端后水污染治理治理措施,是突破现有技术局限性的一个重要方向。
河道和湖泊水体污染的主要因素包括人为污染和自然污染;其中自然污染是经常被忽略的部分,主要有从地表进入水体的枯枝落叶、泥沙等,水体内腐烂的动植物等;人为污染主要有工业废水、生活污水、农业面源污染等,是目前关注度最高的部分,也是治理力度最大的部分。当人为污染的污染物总量消减到一定程度,进一步消减的代价较高时,消减自然污染的污染物总量也是保护水体的有效措施。本文所述的河道治理新思路和湖泊治理新思路,可同时消减人为污染和自然污染的污染物。
国家每年都会发布单位GDP污染物排放量,环保工程在解决环境问题的同时,其投资和运行费用所消耗的GDP的背后本身就是污染物排放,因此环保工程在确保安全、稳定和高效运行的条件下,还应该节约投资和运行费用,本文称之为节约环保。滇池治理的主要任务是去除污染物,污染物去除的环节主要包括清洁生产、末端治理和末端后治理,在这些环节中找到安全、稳定、经济高效的治理措施,是滇池治理技术开发的主要目的。本文主要着眼于生活污水处理新思路(末端治理)和末端后水污染治理新思路,并提出这些思路用于滇池治理的构想,从技术上减少滇池治理的投资和运行费用,提高滇池治理的效果。
本文所提出的污水处理新思路所用的A标化粪池,河道治理新思路所用的河道治理旁通道、过鱼是沉淀过滤池和曝气水车,湖泊治理新思路所用的蓝藻爆发池、高效蓝藻打捞船和排水口地下水回流治理湖泊的方法,这些技术均处于理论提出阶段,未取得小试、中试和生产试验的验证,不能直接投入生产使用,也不能直接用于滇池的治理。
这些技术在投入生产运用之前,应该委托水污染治理的科研机构分别进行技术论证和技术开发,在技术开发完成后再分别投入运用。由于这些技术可单独投入运行,也可联合投入运行,在开发的过程中如果某项技术开发失败,并不影响其他技术的开发,甚至这些技术中只要有一项开发成功,对水污染的治理都会产生积极的作用。同时,技术开发的过程也不能仅仅局限于这些技术的专利文件,开发的过程将会有更多的创意融入到这些技术中,并申请更多的专利。这些专利技术的开发成功更重要的是产生经济效益、社会效益以及环境效益等,或许还可以为地方经济打造污水处理领域的产业链,河道治理领域的产业链,湖泊治理领域的产业链。
目前滇池治理“十三五”规划已经进入冲刺阶段,滇池治理“十四五”规划的编制工作也进入招标阶段,希望这些滇池治理新思路能够为滇池治理“十四五”规划的编制提供一定的参考,或者在“十四五”期间能够对这些新技术开展必要的科研和技术开发。当然如果在“十四五”规划发布前其中某项或几项技术得到充分论证后,能够用于滇池治理,将对技术的开发和滇池治理提供更多的可能。
从污染物去除的过程上看,本文在污水处理、河道治理和湖泊治理上提出了新的治理思路。从治理技术上看,本文分析了A标化粪池、河道治理旁通道、过鱼式沉淀过滤池、高效蓝藻打捞船和排水口地下水回流治理湖泊的方法等专利技术运用于滇池治理的前景。如果这些思路和技术运用于滇池治理能够取得显著的效果,则可以这些治理技术在滇池的运用打造水污染治理新技术的样板工程,在其他流域、其他地区、其他国家进行推广,并在昆明打造相应的污水处理、河道治理和湖泊治理工程产业链,带动地方经济、社会的高速发展。

4月29日,十三届全国人大常委会第十七次会议审议通过了修订后的固体废物污染环境防治法(以下